Портальні стінки (СТК-5,СТ-10 тощо) призначені для облаштування водопропускних труб діаметром ø 1,0; ø 1,25, ø 1,50 м. Портальні стінки приставляються до ланок круглих труб. Портали запобігають обсипанню ґрунту до вихідного (вхідного) отвору труби. Виготовляється з важкого бетону, клас бетону за міцністю на стискання В 20 (М250), марка бетону за морозостійкістю F200, за водонепроникністю W6.
Вироби відповідають технічним вимогам Серія 3.501.1-144, ТУ 35-694-82.
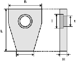
Відкісні стінки/відкісні крила (СТК-10, СТК-6, СТК-7 тощо) — елементи наголовки, призначені для облаштування водопропуску з ж/б труб ø 1,0 м, ø 1,25 м, ø 1,50 м. Відкісні стінки — приставляються до портула та мають функцію напрямних для потрапляння стічних вод до тіла труби. Відкісні крила утримують ґрунт на краях насипи, створюючи додатковий захист від засмічення вхідного отвору труби. Виготовляється з важкого бетону, клас бетону за міцністю на стискання В20 (М250), марка бетону за морозостійкістю F200, за водонепроникністю W6.
Вироби відповідають технічним вимогам Серія 3.501.1-144, ТУ 35-694-82.
Лекальні блоки (Бл 1.1.201, Бл 1.302 тощо) — призначені для облаштування водопропуску з залізобетонних круглих труб. Застосовуються як фундаментальна основа для ланок. Виготовляється з важкого бетону, клас бетону за міцністю на стискання В20 (М250), марка бетону за морозостійкістю F200, за водонепроникністю W6.
Вироби відповідають технічним вимогам Серія 3.501-59, ТУ 35-694-82.
Дзвіни труб залізобетонних є елементами водопропускних збірних труб, які використовуються в дорожньому будівництві. Часто жбі труби мають збірну конструкцію, що дає можливість використовувати потрібну кількість залізобетонних ланок для того, щоб правильно підібрати довжину водопропускної системи. ЖБІ ланки труб, виробляються з важкого бетону, що надає їм високу міцність і дають змогу їх використовувати в автодорожньому та залізничному будівництві.
За формою поперечного перерізу ланки жбі поділяються на:
- ланки залізобетонні круглі (ЗК);
- круглі ланки жбі водопропускних труб із плоским спіраллю (ЗКП);
- ланки жбі прямокутних труб (ЗП).
Дзвіни круглих труб ЗК
|
Найменування |
Розміри, мм. |
Маса, т. |
Цена за ед., грн. |
||
|
L |
D |
h |
|||
|
ЗК 4.100 |
1000 |
1000 |
120 |
1,050 |
Дог. |
|
ЗК 4.200 |
2000 |
1000 |
120 |
2,016 |
Дог. |
|
ЗК 5.100 |
1000 |
1250 |
120 |
1,300 |
Дог. |
|
ЗК 9.100 |
1000 |
1500 |
160 |
2,075 |
Дог. |
|
ЗК 9. 100 л/а |
1000 |
1500 |
160 |
2,0750 |
Дог. |
|
ЗК 10.100 |
1000 |
1500 |
220 |
2,975 |
Дог. |
Дзвіни круглих труб із плоским спіральом ЗКП
|
Найменування |
Розміри, мм. |
Маса, т. |
Цена за ед., грн. |
||
|
L |
D |
h |
|||
|
ЗКП 2.150 |
1500 |
1000 |
120 |
1,800 |
Дог. |
|
ЗКП 6.150 |
1500 |
1500 |
160 |
3,575 |
Дог. |
|
ЗКП 15.150 |
1500 |
1000 |
100 |
2,000 |
Дог. |
|
ЗКП 17.150 |
1500 |
1500 |
140 |
4,475 |
Дог. |
Дзвінки прямокутних труб ЗП
|
Найменування |
Розміри, мм. |
Маса, т. |
Цена за ед., грн. |
||
|
L |
D |
H |
|||
|
ЗП 8.100 |
1000 |
1740 |
2400 |
3,200 |
Дог. |
|
ЗП 10.100 |
1000 |
2260 |
2380 |
3,384 |
Дог. |
|
ЗП 11.100 |
1000 |
2260 |
2500 |
4,225 |
Дог. |
|
ЗП 12.100 |
1000 |
2320 |
2680 |
5,625 |
Дог. |
|
ЗП 16.100 |
1000 |
3000 |
3300 |
6,500 |
Дог. |
|
ЗП 17.100 |
1000 |
3400 |
3140 |
8,0000 |
Дог. |
|
ЗП 18.100 |
1000 |
3460 |
3320 |
10,050 |
Дог. |
|
ЗП 19.100 |
1000 |
4360 |
3060 |
9,050 |
Дог. |
|
ЗП 20.100 |
1000 |
4429 |
3100 |
9,950 |
Дог. |
|
ЗП 21.100 |
1000 |
4600 |
3300 |
13,750 |
Дог. |
|
ЗП 21.75 |
750 |
4600 |
3300 |
10,250 |
Дог. |
Доставка:
Виконуємо доставку (зокрема сітка покрівельна) продукції в усі регіони України, доставка виробляється вантажними транспортними компаніями. Час доставка: 1-2 дні.
Чому вигідно працювати з нами:
- Консультації досвідчених менеджерів щодо властивостей і застосування матеріалів
- Виконуємо всі договореності точно в термін і в повному об'ємі
- Доступна ціна ланки труб
Графік роботи:
Ми працюємо з понеділка по п'яті з 08:00 до 18:00 без перерв. Заявки, залишені у вихідні, обробляються в понеділок поза чергою.
У нас Ви завжди можете купити ланки труб за низькими цінами, а також іншою продукцію (портальні та відкісні стінки, лекальні блоки, прикромкові лотки, телескопічні лотки, труби, кільця, плити, опори та ін.).
Шановні покупці! Звертаємо Вашу увагу на те, що в нашому каталозі вказані роздрібні ціни та можуть відрізнятися від наявних на цей момент. Пролягання — уточнюйте ціну та наявність за телефоном.
| Основні атрибути | |
|---|---|
| Виробник | Власне виробництво |
| Країна виробник | Україна |
- Ціна: від 15 100 ₴



